BETONELEMENTER
RIBBEDÆKPLADER – TT-PLADER
TT-plader anvendes som etagedæk og tagplader, hvor de med deres store stivhed og spændvidde kombineret med lille konstruktionshøjde sikrer en billig og fleksibel løsning.
Monteret lodret kan TT-pladerne anvendes som facadeelementer til bl.a. høje industribygninger, hvor der er krav om lange slanke elementer. Desuden kan TT-pladerne anvendes til vej- og gangbroer samt parkerings- og sportsanlæg.
TT-pladerne er tilpasset et modulsystem, der desuden omfatter ydervægselementer, søjler, konsolbjælker og tagbjælker.
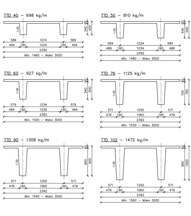
Elementgeometri
TT-pladerne er ribbeplader med to ribber. De laves i to udgaver. Et TT-element som laves med en 40mm tyk overplade eller som en TTD-element med en overplade på 60 mm.
Pladerne laves som standard med en bredde på 2400 mm . Andre bredder kan laves efter nærmere aftale.
TT-pladerne produceres og kontrolleres i henhold til DS/EN 13224 og leveres CE-mærkede. Se mere under certifikater.
Hovedmål
TT-elementerne leveres med understående geometri samt bredder.
TTD-elementerne leveres med understående geometri samt bredder.
På grund af forspændingen fremstår begge typer elementer med pilhøjde. Jo kraftigere forspænding des større pilhøjde.
Udsparinger
Under hensyntagen til statiske forhold kan der frit foretages udsparinger i toppladen. Under hensyntagen til bl.a. armering og stålforme kan der efter nærmere aftale foretages udsparinger i ribberne til rørgennemføringer, ventilation m.v.
Isolering og tagdækning
Isolering og tagdækning fastgøres efter leverandørens anvisninger. For at modvirke for store temperaturbevægelser anbefaler BETONELEMENT min. 50 mm isolering i uopvarmede bygninger.
Indstøbningsdele
Løft
Som standard indstøbes wireløft i TT-pladerne, hvor BETONELEMENT vurderer, at løftesystemet er anvendeligt. Andre løftetyper kan indstøbes efter aftale.
Beslag
Til forankring af TT- og TTD-elementerne til stringeren indstøbes standard-beslag i toppen af ribberne – ved stålstringer eller udragende u-bøjle ved støbt stringer. Regningsmæssig værdi af disser er 60 kN. Ved tætliggende TT-plader indstøbes standardbeslag for sammensvejsning i kanten af overpladen.
Til overførelse af skivekræfter mellem tag og vægge indstøbes 2 gavlbeslag pr. element i kanten af overpladen. Gavlbeslag og standardbeslag har en regningsmæssig bæreevne på 20 kN.
For samling med vaffelplader eller til montering af ståltrapezplader indstøbes svejsebeslag pr. 1200 mm. Den regningsmæssige bæreevne af disse er 20 kN. Alle svejsninger på beslag regnes udført i udførelsesklasse EXC1 eller EXC2.
For lejeplader, der skal udføres i udførelsesklasse EXC 3, kræves en specifik aftale.
Andre indstøbningsdele
Som standard produceres TT-pladerne kun med ovennævnte indstøbningsdele. Andre indstøbningsdele som specielbeslag, svejseplader, ankerskinner, inserts etc. kan indstøbes efter aftale.
SAMLINGER OG DETALJER
DOWNLOAD SAMLINGSDETALJER
Du kan downloade vores samlingsdetaljer af ribbedækplader/TT-plader som dwg- og pdf-filer her.
Projektering og beregning
Forudsætninger
Generelt
Deklarerede værdier for materialer og egenskaber vedr. ribbedækplader fremgår af ydeevnedeklarationen. Download gældende udgave her.
TT-pladerne produceres og kontrolleres i henhold til DS/EN 13224 og leveres CE-mærkede.
Kontrolklasse
TT-plader produceres som standard i skærpet kontrolklasse.
Miljøklasse
TT-plader produceres som standard i passiv miljøklasse, idet det dog skal bemærkes, at hovedarmeringen afskæres i plan med ribbeenderne uden forsegling. Kan også efter aftale produceres til anvendelse i moderat eller aggressiv miljøklasse, hvor hovedarmering kan forsegles.
Betonstyrker
TT-pladerne produceres som standard i styrkeklasse 45. Kan også produceres i højere styrkeklasser efter aftale.
Tolerancer
Elementerne overholder gældende tolerancer, der kan ses her.
Overflader
Undersider og ribber overholder BO42 iflg. bips A24.
Oversider kan leveres i to udførelser:
- Med jævnt afrevet overside, som BO 53 iflg. bips A24, uden opfyldelse af krav til ruhed, klar til pålægning af isolering og tagdækning.
- Med oprevet overside og udragende armering for udstøbning af overbeton.
Til byggeri hvor pladeenderne er synlige, kan TT pladerne efter aftale leveres med forseglede endeflader.
Overbeton
Pladerne skal, når de anvendes som etagedæk, udstøbes med en pladsstøbt overbeton. For at sikre sammenhæng mellem overbeton og TT-plade laves opragende armering ud af toppladen.
INFORMATION
ARMERING
Du kan finde data for både slapt armering og spændarmering her.
Bæreevne
TT-dæk eftervises sagsspecifikt med en statisk beregning, som specificerer beton- og stålkvaliteter, armeringsmængde og -udformning. Beregningen indeholder minimum nedenstående punkter.
BÆREEVNETABELLER FOR TT- OG TTD-DÆK
Regningsmæssigt last
Den regningsmæssige momentbæreevne Mud og regningsmæssige forskydningskapacitet, Vud eftervises at være større end det regningsmæssige belastning inkl. bjælkens egenvægtsmoment.
Revnelast
Revnemomentet Mk er den anbefalede maks. værdi for den karakteristiske belastning inkl. bjælkens egenvægtsmoment. Det er forudsætningen for, at bjælken kan regnes revnefri i deformationsberegningerne. Alternativt skal det sikres, at der er tryk over hele tværsnittet ved hyppig last.
Balancelast
Balancemomentet Mbal er momentet, hvor tværsnittet på bjælkemidten har jævnt tryk over hele tværsnittet og dermed minimale langtidsdeformationer. Som følge af forskellen i momentkurven for forspænding og belastning, kan det opnåede Mbal ved normal last overskrides med ca. 50%, før der opstår større deformationer i bjælken.
Svind og krybning under lagerperioden giver en mindre forøgelse af pilhøjden. Dette udgør ca. 10%, hvorfor der kan tillades en samlet overskridelse af balancemomentet på ca. 60%.
Derfor anbefales det, at momentet fra den kvasi permanente last ikke overskrider Mbal multipliceret med 1,6.
Vederlag
Der skal under projektering af vederlag tages hensyn til betonens svind og krybning, f. eks. ved at indlægge glideleje i den ene ende. Endvidere skal der tages hensyn til ændringer af pilhøjden og den dermed følgende vinkeldrejning ved vederlaget. Ved lejetryk over ca. 10 – 12 MPa skal vederlagsforhold vurderes, og der skal evt. udføres særlige foranstaltninger. Dette kan aftales med vores teknikere.
Pilhøjde
Deformationer og pilhøjder beregnes med de sædvanlige elasticitetsteoretiske formler. Der regnes med urevnet tværsnit, hvorfor det skal sikres, at den karakteristiske revnekapacitet ikke er overskredet. Ellers vil deformatioer blive væsentlig større end beregnet.
De beregnede deformationer baseres på den oplyste lasttilfælde, en jævn fordelt last. Da dimensionsgivende lasttilfælde oftest overstiger de aktuelt forkomne laster, vil nedbøjninger typisk være mindre end de beregnede, og pilhøjden kan ende større end beregnet.
Pilhøjde-beregningerne er vejledende, baseret på ca. 14 dages lagring. De endelige pilhøjder vil variere som følge af lagringsbetingelser, modenhed mm. Som hovedregel +/- 50 %, min +/- 10 mm, i forhold til angivne værdier.
Specielt ved lange bjælker med relativ ringe højde bør leveringspilhøjden tages i betragtning ved projekteringen. Ved udformning af tilstødende konstruktioner kan det på tilsvarende vis være nødvendigt at tage hensyn til bjælkernes nedbøjning forårsaget af belastningerne. Her bør en vurdering af den samlede konstruktion (evt. med sammenstøbning med dækfuger) danne grundlaget.
Skivevirkning
Der kan etableres skivevirkning i TT-dækket vha. sammensvejste fugebeslag eller armeret overbeton.
Brand
Der foretages en projektspecifik brandeftervisning af TT-dækkene, hvis det er krævet i projektet.
Normalt vil dækkene kunne dimensioneres til REI 60 A2, og for dæk med en relativ lille belastning kan REI 120 opnås.

