BETONELEMENTER
RIBBETAGPLADER – RTP-PLADER
RTP ribbetagplader anvendes til tag på kontor-, industri- og lagerbygninger, hvor pladernes store, frie spændvidde sikrer en billig og fleksibel løsning. Elementerne er tilpasset et modul system, der desuden omfatter bærende ydervægselementer, søjler, konsolbjælker og vaffelplader.
Ved at kombinere RTP ribbetagplader med vaffelplader opnås et meget let og billigt tag, der i det væsentlige bibeholder alle betontagets fordele.
Ribbetagplader produceres og kontrolleres i henhold til DS/EN 13224 og leveres CE-mærkede. Se mere under certifikater.
Elementgeometri
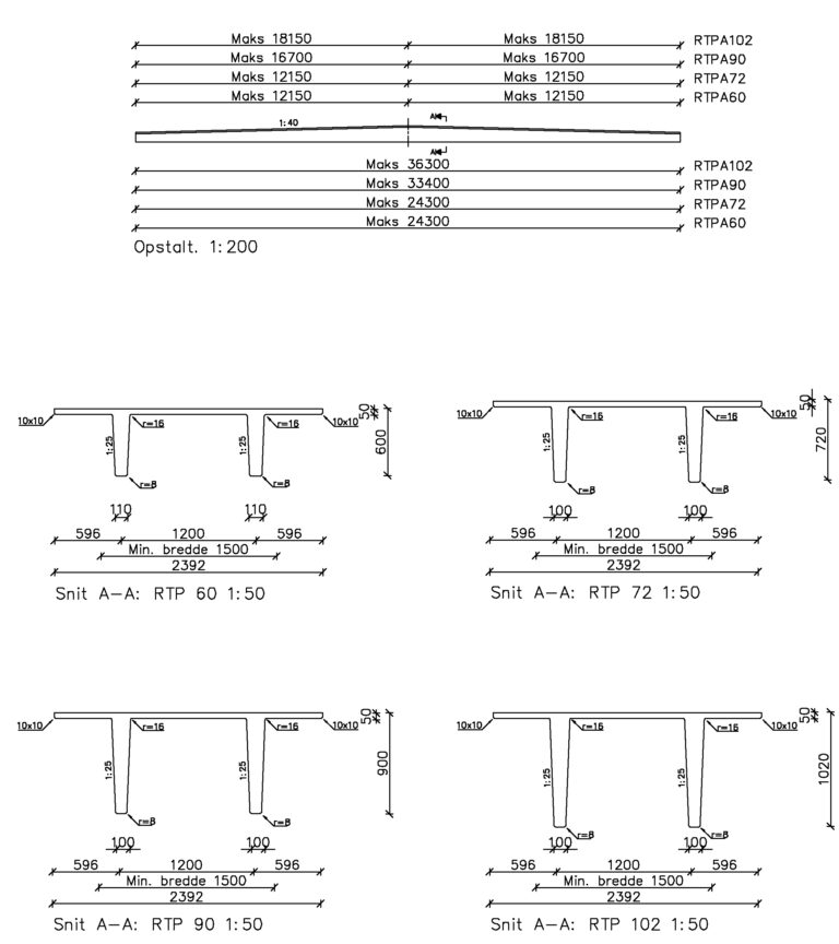
RTP ribbetagplader er saddeltagsformede ribbeplader udført i forspændt beton, og de leveres i to typer.
- Type A har 1200 mm mellem ribberne – se nedenstående figur
- Type B har 1800 mm mellem ribberne – se nedenstående figur
Hovedmål
RTP ribbetagpladerne produceres som standard i fire forskellige kiphøjder: 600, 720, 900 og 1020 mm afhængig af spændvidden.
Hældningen er 1:40 i overensstemmelse med tagpapbranchens minimumskrav.
Største længder er for kiphøjderne 600, 720, 900 og 1020 mm henholdsvis 18 m, 24 m, 32 m og 36 m.
Ribbetagplader kan leveres i vilkårlige længder op til max længden. Standardbredden er 2400 mm. Dog kan RTP ribbeplader leveres i variabel bredde. For RTP A er minimums bredden 1600 og for RTP B 2000 mm. For begge plader gælder det at maks. bredden er 2400 mm.
Type A
Type B
Udsparinger
Pladernes midterzone har en tykkelse på henholdsvis RTP A = 40 mm og RTP B = 50 mm. Denne midterzone kan frit anvendes til placering af udsparinger for ovenlys mm. Under hensyntagen til bl.a. armering og stålforme kan der efter aftale foretages udsparinger i ribberne til rørgennemføring, ventilation mm. Se fig. 4.
Figur 4
Indstøbningsdele
Løft
Som standard indstøbes 4 stk. wireløft i RTP ribbepladerne.
Forankring mellem ribbetagplader samt stringer og gavl
Til forankring af TT og TTD elementerne til stringeren indstøbes en forankret standard-lejeplader i ribberne.
Ved tætliggende TT-plader indstøbes standardbeslag for sammensvejsning i kanten af overpladen.
Til overførelse af skivekræfter mellem tag og vægge indstøbes 2 gavlbeslag pr. element i kanten af overpladen. Gavlbeslag og standardbeslag har en regningsmæssig bæreevne på 20 kN.
For samling med vaffelplader eller til montering af ståltrapezplader indstøbes svejsebeslag pr. 1200 mm. Den regningsmæssige bæreevne af disse er 20 kN.
Alle svejsninger på beslag regnes udført i udførelsesklasse EXC1 eller EXC2. .
For lejeplader der skal udføres i udførelsesklasse EXC 3 kræves specifik aftale.
Andre indstøbningsdele
Andre indstøbningsdele som specialbeslag, svejseplader, ankerskinner, inserts etc. kan indstøbes efter aftale.
Isolering og tagdækning
Isolering og tagdækning fastgøres efter leverandørens anvisninger. For at modvirke for store temperaturbevægelser anbefaler vi min. 50 mm isolering – også i uopvarmede bygninger.
SAMLINGER OG DETALJER
DOWNLOAD SAMLINGSDETALJER
Du kan downloade vores samlingsdetaljer af ribbetagplader/RTP-plader som dwg- og pdf-filer her.
Projektering og beregning
Forudsætninger
Generelt
Deklarerede værdier for materialer og egenskaber vedr. ribbentagplader fremgår af ydeevnedeklarationen. Download gældende udgave her.
Ribbetagplader produceres og kontrolleres i henhold til DS/EN 13224 og leveres CE-mærkede.
Kontrolklasse
RTP ribbeplader produceres som standard i skærpet kontrolklasse.
Miljøklasse
RTP ribbeplader produceres som standard i passiv miljøklasse, idet det dog skal bemærkes at hovedarmeringen afskæres i plan med enderibberne uden forsegling. Kan efter aftale også produceres til anvendelse i moderat miljøklasse, hvor hovedarmering i enderibber kan forsegles.
Betonstyrker
RTP ribbeplader produceres som standard i styrkeklasse 45.
Tolerancer
Elementerne overholder gældende tolerancer, der kan ses her.
Overflader
RTP ribbepladernes overside er jævnt afrevet, som BO 53 i bips A24, dog uden opfyldelse af krav til ruhed og til pålægning af isolering og tagpap. Undersiden overholder kravene i bips A24 til overflade synlig normal.
INFORMATION
ARMERING
Du kan finde data for både slapt armering og spændarmering her.
Bæreevne
RTP tagplader eftervises sags specifikt med en statisk beregning, som specificerer beton- og stålkvaliteter, armeringsmængde og – udformning. Beregningen indeholder minimum nedenstående punkter
Regningsmæssigt last
Den regningsmæssige momentbæreevne Mud og regningsmæssige forskydningskapacitet, Vud eftervises at være større end det regningsmæssige belastning inkl. bjælkens egenvægtsmoment
Revnelast
Revnemomentet Mk er den anbefalede maks. værdi for den karakteristiske belastning inkl. bjælkens egenvægtsmoment. Det er forudsætningen for, at bjælken kan regnes revnefri i deformationsberegningerne. Alternativt skal det sikres, at der er tryk over hele tværsnittet ved hyppig last.
Balancelast
Balancemomentet Mbal er momentet, hvor tværsnittet på bjælkemidten har jævnt tryk over hele tværsnittet og dermed minimale langtidsdeformationer. Som følge af forskellen i momentkurven for forspænding og belastning, kan det opnåede Mbal ved normal last overskrides med ca. 50%, før der opstår større deformationer i bjælken.
Svind og krybning under lagerperioden giver en mindre forøgelse af pilhøjden. Dette udgør ca. 10%, hvorfor der kan tillades en samlet overskridelse af balancemomentet på ca. 60%.
Derfor anbefales det, at momentet fra den kvasi permanente last ikke overskrider Mbal multipliceret med 1,6.
Vederlag
Der skal under projektering af vederlag tages hensyn til betonens svind og krybning, f.eks. ved at indlægge glideleje i den ene ende. Endvidere skal der tages hensyn til ændringer af pilhøjden og den dermed følgende vinkeldrejning ved vederlaget. Ved lejetryk over ca. 10 – 12 MPa skal vederlagsforhold vurderes, og der skal evt. udføres særlige foranstaltninger. Dette kan aftales med vores teknikere.
Pilhøjde
Deformationer og pilhøjder beregnes med de sædvanlige elasticitetsteoretiske formler. Der regnes med urevnet tværsnit, hvorfor det skal sikres, at den karakteristiske revnekapacitet ikke er overskredet. Ellers vil deformatioer blive væsentlig større end beregnet.
De beregnede deformationer baseres på den oplyste lasttilfælde, en jævn fordelt last. Da dimensionsgivende lasttilfælde oftest overstiger de aktuelt forkomne laster, vil nedbøjninger typisk være mindre end de beregnede, og pilhøjde kan ende større end beregnet.
Pilhøjdeberegningerne er vejledende, baseret på ca. 14 dages lagring. De endelige pilhøjder vil variere som følge af lagringsbetingelser, modenhed mm. Som hovedregel +/- 50 %, min +/- 10 mm, i forhold til angivne værdier.
Specielt ved lange bjælker med relativ ringe højde, bør leveringspilhøjden tages i betragtning ved projekteringen. Ved udformning af tilstødende konstruktioner kan det på tilsvarende vis være nødvendigt at tage hensyn til bjælkernes nedbøjning forårsaget af belastningerne. Her bør en vurdering af den samlede konstruktion (evt. med sammenstøbning med dækfuger) danne grundlaget.
Skivevirkning
Der kan etableres skivevirkning i RTP tagplader vha. sammensvejste fugebeslag eller armeret overbeton.
Brand
Der foretages en projektspecifik brandeftervisning af RTP dækkene, hvis det er krævet i projektet.
Normalt vil RTP tagplader kunne dimensioneres til REI 60 A2, inkl. vaffelplader.


