BETONELEMENTER

FACADER – SANDWICHELEMENTER

Facaden er byggeriets ansigt. Med fabriksfremstillede betonfacader (sandwichelementer) er der talrige muligheder for at give byggeriet et individuelt udtryk, både når det gælder overflade, farver og udformninger. Vælg mellem frilagte, afsyrede, slebne evt. med mønster, grafiske eller groft strukturerede overflader.

I en facade med beton kan der forekomme nuanceforskelle i sandwichfacadeelementerne. Det er muligt at give facaden en ekstra dimension med anvendelse af hvid cement, farvestoffer eller andre tilslagsmaterialer.

De enkelte sandwichelementer kan udformes, så de skaber et individuelt udtryk, enten hver for sig eller i spændende sammensætninger. Reliefvirkninger, noter, skrå afskæringer og afrundinger er blot nogle af de mange effektfulde muligheder. Indstøbning af mursten, klinker, glaserede fliser, natursten mm. er gennemprøvede løsninger, der åbner for et utal af facadeudtryk.

Andre kosmetiske overflader er også mulige, kontakt vores salgsafdeling for mere information.

Sandwichelementer er opbygget af en forplade, et isoleringslag og en bagplade. Sandwichelementer anvendes som udvendige bærende eller ikke bærende facader i bolig-, institutions- og erhvervsbyggeri.

Sandwichelementer støbes i vandrette forme med forpladen ned eller opad afhængig af den ønskede overfladetype.

Facadeelementerne produceres og kontrolleres i henhold til DS/EN 14992 og leveres CE-mærkede. Se mere under certifikater.

 

Overflader

Vores sandwichfacadeelementer giver dig et bredt register af overflader – fra det helt rolige til det mere taktile. Glatte og glat afsyrerede flader giver et skarpt, afbalanceret udtryk, mens frilagte og polerede overflader fremhæver materialets dybde og spil.

Overfladerne kan udføres i farvet beton, med frilagt sten eller med strukturer, der giver facaden karakter og tyngde. Murstensfacader udføres med mursten efter dit valg og integreres præcist i elementet – hvor betonens robusthed møder murværkets stoflighed.

​Vores sandwichfacadeelementer udføres i mange forskellige farver alt efter ønske som

  • fritlagt facader
  • glatte facader
  • murstensfacadeelementer
  • polerede facader

Se også vores udvalgte referencer og filtrer på de forskellige farver og overflader.

OVERFLADER

 

MANGE FORSKELLIGE FACADEUDTRYK

 

Beton er ikke bare grå. Materialet fås i mange farver og overflader – fra fritlagt beton med synlige sten til glat, poleret beton eller elementer med mursten fra fabrik. Udtrykket kan være råt, elegant eller arkitektonisk formmæssigt afstemt.

Elementgeometri

Hovedmål

Sandwichfacadeelementer produceres som standard i tykkelser fra 330 mm med spring på 30 mm op til 600 mm. Andre dimensioner kan udføres efter aftale.

Sandwichelementer udføres normalt i højde op til 3750 mm. Ved større højder må sandwichelementerne støbes så de skal vendes på byggepladsen.  Bredder udføres normalt op til 9200 mm af hensyn til elementtransport på standardbiler. Ved specielle ønsker på geometri, undersøger vi gerne mulighederne. Vægten vil ofte være begrænsende for elementets størrelse, grundet byggeplads hensyn.

Vi kan som standard producere facader op til 12 tons. Elementer med større vægt kan udføres efter aftale.

 

Forpladen
Dette er en klimaskærm, som normalt udføres som en plan plade. Tykkelsen afhænger af den krævede armering, overfladeprofilering og dæklag. Dæklag mod såvel isolering som profilering/yderside fastsættes normalt til moderat miljøklasse. Hermed vil forpladetykkelsen normalt andrage 70 mm + profilering.

Det er i forpladen, at elementets kosmetiske muligheder ligger.

Forpladen produceres normalt med to forskellige betonblandinger – kosmetik beton og grå forpladebeton.

Udseendet på kosmetik beton skal aftales med fabrikken så tidligt, at prøvestøbning, godkendelse og materialekøb kan foregå inden produktionsstart.

Isolering
Til sandwichelementer anvendes standard betonelementbatts med λ værdi = 0,034 W/mK eller polystyrol med λ værdi = 0,038 W/mK.

Efter aftale kan der bruges EPS isolering med λ = 0,031 W/mK eller PIR isolering med λ = 0,021 W/mK

Bagplade
Bagpladen er den bærende del af konstruktionen, hvorfor en statisk beregning altid ligger til grund for den endelige udformning.

I designfasen vurderes, om bagpladen skal laves som en massiv plade eller med ribber mod isoleringen. Her tages hensyn til både de statiske egenskaber, brand og varmeledningsevnen.

Dæklag fastsættes normalt svarende til passiv miljøpåvirkning men kan blive større af hensyn til brand.

Konsoller

Bagpladen kan efter aftale udføres med konsoller. Konsollerne udføres standard med lige underside. Af hensyn til dimensionering af konsollerne bør udkragningen på konsollen ikke overstige højden.

Udsparinger

Vindues- og døråbninger udføres som standard uden smig og affasninger.  Udsparinger og smig kan udføres efter aftale.

Affasning

Som standard udføres kanter på forplade og bagplade med affasning 10 x 10 mm. Affasninger med anden udformning og smig – især ved sålbænke – kan udføres efter aftale.

Indstøbningsdele

Løft
Som standard indstøbes Frimeda løfteanker i sandwichfacadeelementer. Disse placeres så vidt muligt omkring tyngdepunktet, men det kan være nødvendigt at benytte specielt åg for at sikre, at elementet er lodret under montagen. Andre løftetyper kan indstøbes efter aftale.

Afstivningsinserts
Til fastgørelse af montagestøtter er sandwichfacadeelementerne forsynet med 2 stk. inserts. Typisk anvendes M16 med en udtræksværdi på 16 kN. Normalt placeres de minimum 2/3 af elementhøjden oppe på elementet.

Rækværksinserts
Der placeres ikke rækværksinserts i forpladen, Specielle ønsker til fastholdelse af rækværk kan aftales.

Forankring mellem facade og dæk
Der kan efter aftale indstøbes strittere i facader. Som standard indstøbes K12 pr. 600 mm, hvis ikke andet er aftalt. Disse leveres udragende. Alternativt kan aftales, at der indstøbes K8 strittere med mindre indbyrdes afstand. Hvis transporthensyn kræver det, er stritterne bukket ved levering og skal rettes ud i forbindelse med montagen.

El-indstøninger
El-indstøbninger udføres i henhold til vores standard samt projektoplysninger i form af oversigtsplaner samt oplysninger om dåsetype, rørføringer og udsparinger.

Som standard anvendes FUGA Air dåser.

Efter aftale kan der indstøbes Eurodåser – der anvendes som standard en AU 60.5 fra ABB. Ander typer kan indstøbes efter aftale.

Vedrørende placering, fastgørelse og tilslutning i byggefasen henvises til BPS – vejledning nr. 22: ”EL – installationer i betonelementbyggeri”, samt Branchevejledning ”EL-indstøbninger i elementer af beton og letklinkerbeton” – med nye FUGA Air indstøbningsdåser.

En oversigt over vores standarder for el-indstøbninger kan findes her.

Andre indstøbningsdele
Som standard produceres sandwichfacadeelementer kun med ovennævnte indstøbningsdele. Andre indstøbningsdele såsom montagebolte, tophatte, inserts, ankerskinner, inddækningsnot, sømklodser ved vinduer og døre etc. kan indstøbes efter aftale.

Ved indstøbning af korrugerede rør henvises til følgende dokument, som beskriver rørstørrelser samt normale problemstillinger, som man skal være opmærksom på.

 

SPECIELT VEDRØRENDE MURSTENSFACADEELEMENTER

For murstensfacader skal man være opmærksom på, om valg af forbandt passer til den ønskede elementhøjde/ bredde.

Betonelementets bredde skal følge murmål, eksempelvis for halvstens løberforbandt n x 120-12, f.eks. 4788 mm. Ved høje betonelementer, der udføres som vendeelementer, er breddemålet standard 2388 mm.

Forbandt

Vores standard forbandter er halvstensløberforbandt, løberforbandt II eller TT-forbandt, se figur 2, 3 og 4. I halvstensløberforbandt er 3. skifte identisk med 1. og ved TT-forbandt er hvert 15. skifte identisk med 1. Begge forbandter går således op i højden 28 M = 42 skifter.

I løberforbandt II er 5. skifte identisk med 1.

Halvstensløberforbandt giver mulighed for vandret placering af vinduer og døre for hver 120 mm, svarende til studsfugerne. I TT-forbandt og løberforbandt II findes tilsvarende muligheder for hver 60 mm. Andre forbandter kan fremstilles efter aftale.

Elementerne kan leveres med rulleskifte, standerskifte eller betonfrise langs kanter og åbninger. Friser udføres som standard 12 mm tilbageliggende fra murstensfladens forside.

Alle fuger er normalt 6 mm tilbageliggende.

Kantudformning og fuger

Underside af forpladen udføres med 28 mm høj tå. Med 40 mm understøbningsfuge under bagpladen bliver skiftegangen nøjagtig den samme som ved muret facade på fundament. Tilsvarende gælder når der monteres på underliggende element.

Den lodrette fuge mellem to murstensfacadeelementer er 12 mm bred på forpladen. Elementets side er ved forpladen glat, mens den ved bagpladen kan være forsynet med forskydningslås, se figur 6.

Fugerne i forpladen kan udføres på traditionel vis i forskellige udgaver, men det er vigtigt, at den vandrette fuge er diffusionsåben eller forsynet med udluftningsstudser i form af plastrør eller lignende i fornuftig afstand.

Figur 6

Skrabet fuge – 25 mm tegl

Skrabet fuger – 50 mm tegl

Skrabet fuge – 25/50 mm tegl

Vindues- og døråbninger

Vindues- og døråbninger udføres i gængse murstensmål. Placering i elementet skal afstemmes med forbandtet. Detailudformning af vindues- og døråbninger udføres mest fordelagtigt i fabrikkens standard, se figur 7. I false er den blanke mur som standard ført 50 mm ind. Den vandrette fals i åbningens underside udføres i beton. Den kan også udformes for ilægning af sålbænk på byggepladsen.

Fastgørelsesklodser for vinduer og døre kan indstøbes. Se figur 8.

Der kan efter aftale indstøbes fiberfalse.

Figur 7

Figur 8a

Figur 8b

Hjørner

Hjørner udformes som standard som vist på figur 9, således at hjørnet består skiftevis af hele, henholdsvis halve mursten.

Kontrol af murstensfacader

Murstensfacader kontrolleres med samme interval som øvrige elementers overflader.

Udfaldskravet er mere håndværkspræget, som følge af murstenenes kontur med udgangspunkt i “Hvor går grænsen” for murværk.

 

Samlinger og detaljer

Facadeelementernes sidekanter på bagplader er normalt glatte, men kan forsynes med fugelåse.

Hvis facaderne skal leveres med fugelåse, så anvendes som standard wireboxe. Afstanden er som udgangspunkt 900 mm. Efter aftale kan wireboxene sættes med en indbyrdes afstand på 600 eller 300 mm.

Facadeelementer kan efter aftale leveres med fortandet støbesamling og faste bøjler. Opmærksomheden henledes på, at denne er 37 mm dyb, hvilket der skal tages hensyn til, hvis disse anvendes i fladen på et element.

Find oversigten over mulige samlinger samt tilhørende bæreevner her. 

Der anvendes standard 16 mm udvendig fuge og 20 mm indvendig fuge mellem elementerne.

SAMLINGER OG DETALJER

DOWNLOAD SAMLINGSDETALJER

Du kan downloade vores samlingsdetaljer af facader som dwg- og pdf-filer her.

Formene opbygges som standard med kendte og afprøvede detaljer. Alternative løsninger udføres efter aftale.

Ved anvendelse af de beskrevne principper opnås samhørighed mellem god kvalitet og fornuftig økonomi.

Detailløsninger er efterfølgende vist vedrørende:

  • sider, bund og top
  • hjørner
  • port
  • døre
  • vinduer
  • noter og fortandinger

Endvidere henvises til vores projekteringsafdelinger for yderligere konstruktionsdetaljer.

NOTE!
Bogstaver angiver:
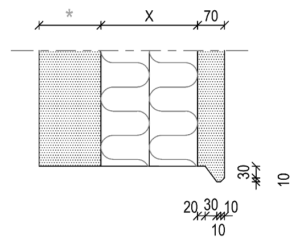
a. Forpladetykkelse, bør være min. 70 mm, også bag profilering.
b. Bredde af fortandings- eller støbenot.
c. Dybde af fortandings- eller støbenot.
d. Affasning 10 x 10 mm.
e. Vandrille.

V1: Kantdetalje ved vindues- og dørsider.
V2: Kantdetalje ved vindues underside.
V3: Kantdetalje ved vindues- og døroverside med vandrille.

Facadeelementer – side / bund

Normal side
– ribbefacade

Normal side
– plan facade

Normal bund
– ribbefacade

Normal bund
– plan facade

Facadeelementer – top / bund

Normal bund
– ved etagekryds

Normal top
– ved etagekryds

Normal facadetop
– type 1

Normal facadetop
– type 2

Normal gavltop

Bygningsfysik

Lyd

Facadeelementernes lydisoleringsevne afhænger primært af facadens vægt pr. m² og tætheden af fugeudstøbning og understopning, samt de tilstødende konstruktioners egenskaber over for lydisolering. Der henvises til SBI anvisninger 237 og Betonelement-Foreningens Bulletin 1, ”Lydisolation for tungt byggeri af beton- og letbetonelementer”.

Varme

Varmeisoleringsevnen afhænger af evt. ribbeareal, isoleringstykkelsen, bærebøjler, stritter m. m.

I nedenstående diagram er vist U-værdien bestemt på baggrund af det procentvise ribbeareal for 4 facadeopbygninger. FE 420/ 100-275 betyder en facade med tykkelsen 420 mm, 100 mm ribbeisolering og 275 mm isolering i resten. De fuldt optrukne er med Betonbatts (l = 0,034 W/mCo) og de stiplede med PIR isolering (l = 0,021 W/mCo).

Tykkelsen på isolering i false/ ribber anbefales som min. 100 mm med standard betonbatts. Efter aftale kan der anvendes isolering med λ = 0,031 W/mK eller λ = 0,021 W/mK.

False kan evt. erstattes med en fiberplade.

Linietab ved vindues- og dørfalse skal indregnes i energirammen og er ikke indregnet i facadeelementets isoleringsevne.

 

Projektering og beregning

Forudsætninger

Generelt
Deklarerede værdier for materialer og egenskaber vedr. facadeelementer fremgår af ydeevnedeklarationen. Download gældende udgave her.

Facadeelementer produceres og kontrolleres i henhold til DS/EN 14992 og leveres CE-mærkede.

Kontrolklasse
Facadeelementer produceres som standard i normal kontrolklasse.

Miljøklasse
Facadeelementer produceres som standard med forpladen i moderat miljøpåvirkning og bagpladen i passiv miljøpåvirkning. Kan efter aftale også produceres til anvendelse i moderat, aggressiv og ekstra aggressiv miljøpåvirkning. Flere kosmetikbetoner vil ikke kunne udføres i de sidstnævnte klasser.

Betonstyrker
Facadeelementers for- og bagplader produceres som standard i henholdsvis styrkeklasse 30 og styrkeklasse 35. Kan også efter aftale produceres i højere styrkeklasser.

 

INFORMATION

ARMERING

Du kan finde data for både slapt armering og spændarmering her.

Tolerancer
Elementerne overholder gældende tolerancer, der kan ses her.

Bæreevne

Bæreevnen afhænger af betonstyrken, bagpladens tykkelse, facadehøjden, armeringen og excentriciteten af de lodrette kræfter.

Brand
Den brandtekniske klassifikation afhænger af facadens tykkelse, højde og armeringsplacering. Bærende facadeelementer leveres normalt som REI 60 A2 (BS 60).