BETONELEMENTER
KONSOLBJÆLKER – KB, KBB, KBE OG KBBE
Konsolbjælker anvendes hovedsageligt som vederlagsbjælker for tag- og etagedæk, hvor de med stor stivhed og spændvidde kombineret med en reduceret konstruktionshøjde sikrer en billig og fleksibel løsning med stor frihøjde.
Konsolbjælkerne er tilpasset et modulsystem, der desuden omfatter ydervægselementer, søjler, ribbetagplader, huldæk, ribbedæk og tagbjælker. Konsolbjælker monteres vandret, og har vederlag på f. eks. søjler, vægge eller facader. Konsolbjælkerne kan anvendes i almindeligt bolig-, kontor- og industribyggeri.
Konsolbjælker produceres og kontrolleres i henhold til DS/EN 13225 og leveres CE-mærkede. Se mere under certifikater.
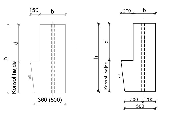
Elementgeometri
Konsolbjælker er bjælker med gennemgående konsoller på bjælkesiderne. Bjælker med konsol på begge sider kaldes KB eller KBB og bjælker med konsol på kun én side kaldes KBE og KBBE.
Hovedmål
Konsolbjælker produceres som standard med følgende mål.
- Bredder og tykkelser (højder) som anført på figur 1 og 2.
- Højder op til 1400 mm. Højder på bjælkerne kan i princippet variere frit, blot hyldehøjden er delelig med hundrede.
- Længder afhænger af bæreevnen.
Bjælkesiderne under konsollen udføres med en hældning på 1:8, smallest i bunden, og hylden kan være enten 150 eller 200 mm dyb.
KB og KBB kan desuden udføres med asymmetrisk hyldehøjde efter aftale. Derudover kan specialelementer udføres i anden bredde og højde efter aftale.
Forspændte konsolbjælker får som følge af forspændingen pilhøjde.
Figur 1:
Figur 2:
Affasning
Konsolbjælkerne udføres altid med affasning ved hylden. Affasningen udføres altid som vist på figur 3.
Figur 3:
Udsparinger
Under hensyntagen til armering, stålforme og elementets bæreevne kan der foretages udsparinger i bjælkerne til rørgennemføring, fugearmering, ventilation m. v.
Der kan desuden udføres udklinkning i bjælkerne, hvis de statiske krav tillader det. Se detalje VE/KB 1-01 og SE/KB 1-03.
Indstøbningsdele
Løft
I bjælker indstøbes normalt 2 wireløft som standard, hvor det vurderes at løftesystemet er anvendeligt. I specielle tilfælde kan det være nødvendigt at indstøbe 4 wireløft.
Lejeplader
Elementerne leveres som standard med lejeplader i sort udførelse.
Der medregnes lejeplader under bjælkevederlag og evt. standardbeslag på konsoller ud for ribbetagplader eller TT-plader og lejeplader som anført i projektet.
Alle lejeplader regnes udført med svejsninger i udførelsesklasse EXC1 eller EXC2.
For lejeplader der skal udføres i udførelsesklasse EXC 3 kræves specifik aftale.
Forankring mellem søjle/bjælke/dæk
Til forankring mellem søjler og bjælker anvendes som standard et ø50 korrugeret rør for dornhul.
Til forankring mellem bjælker og dæk indstøbes ø50 PVC-rør eller inserts i kroppen for fugearmering.
Andre indstøbningsdele
Andre indstøbningsdele så som udragende armering i oversiden til sammenstøbning med dækkets overbeton, specialbeslag, svejseplader, ankerskinner, inserts, afstivningsinserts, etc. kan tilkøbes efter aftale.
SAMLINGER OG DETALJER
DOWNLOAD SAMLINGSDETALJER
Du kan downloade vores samlingsdetaljer af bjælker som dwg- og pdf-filer her.
Projektering og beregning
Forudsætninger
Generelt
Deklarerede værdier for materialer og egenskaber vedr. konsolbjælker fremgår af ydeevnedeklarationen. Download gældende udgave her.
Konsolbjælker produceres og kontrolleres i henhold til DS/EN 13225 og leveres CE-mærkede.
Kontrolklasse
Konsolbjælker produceres som standard i skærpet kontrolklasse.
Miljøklasse
Konsolbjælker produceres som standard i passiv miljøklasse. Kan også produceres til anvendelse i moderat, aggressiv og ekstra aggressiv miljøklasse efter aftale.
Til byggeri, hvor enderne er synlige eller miljøklassen kræver det, kan bjælkerne efter aftale leveres med forseglede endeflader mod beregning.
Overflader
Konsolbjælkerne udføres med en overflade svarende til BO 43/ 42.
Betonstyrker
Konsolbjælker produceres som standard i styrkeklasse 45.
Tolerancer
Elementerne overholder gældende tolerancer, der kan ses her.
INFORMATION
ARMERING
Du kan finde data for både slapt armering og spændarmering her.
Bæreevne
Forspændte KBE-bjælker eftervises sagsspecifikt med en statisk beregning, som specificerer beton- og stålkvaliteter, armeringsmængde og -udformning. Beregningen indeholder minimum nedenstående punkter.
Bæreevnetabeller
KB- og KBE-bjælker:
- Forudsætning for bæreevnetabel spændbeton KB og KBE
- KB 22
- KB 27
- KB 32
- KB 40
- KB 50
- KB 60
- KBE 22
- KBE 27
- KBE 32
- KBE 40
- KBE 50
- KBE 60
KBB- og KBBE-bjælker:
- Forudsætning for bæreevnetabel spændbeton KBB og KBBE med 150 mm og 200 mm hyldedybde
- KBB 22 – 150
- KBB 27 – 150
- KBB 32 – 150
- KBB 40 – 150
- KBB 50 – 200
- KBB 60 – 200
- KBB 76 – 200
- KBB 90 – 200
- KBBE 22 – 150
- KBBE 27 – 150
- KBBE 32 – 150
- KBBE 40 – 150
- KBBE 50 – 200
- KBBE 60 – 200
- KBBE 76 – 200
- KBBE 90 – 200
Regningsmæssigt last
Den regningsmæssige momentbæreevne Mud og regningsmæssige forskydningskapacitet, Vud eftervises at være større end den regningsmæssige belastning inkl. bjælkens egenvægtsmoment.
Revnelast
Revnemomentet Mk er den anbefalede maks. værdi for den karakteristiske belastning inkl. bjælkens egenvægtsmoment. Det er forudsætningen for, at bjælken kan regnes revnefri i deformationsberegningerne. Alternativt skal det sikres, at der er tryk over hele tværsnittet ved hyppig last.
Balancelast
Balancemomentet Mbal er momentet, hvor tværsnittet på bjælkemidten har jævnt tryk over hele tværsnittet og dermed minimale langtidsdeformationer. Som følge af forskellen i momentkurven for forspænding og belastning, kan det opnåede Mbal ved normal last overskrides med ca. 50%, før der opstår større deformationer i bjælken.
Svind og krybning under lagerperioden giver en mindre forøgelse af pilhøjden. Dette udgør ca. 10%, hvorfor der kan tillades en samlet overskridelse af balancemomentet på ca. 60%.
Derfor anbefales det, at momentet fra den kvasi permanente last ikke overskrider Mbal multipliceret med 1,6.
Vederlag
Der skal under projektering af vederlag tages hensyn til betonens svind og krybning, f. eks. ved at indlægge glideleje i den ene ende. Endvidere skal der tages hensyn til ændringer af pilhøjden og den dermed følgende vinkeldrejning ved vederlaget. Ved lejetryk over ca. 10 – 12 MPa skal vederlagsforhold vurderes og der skal evt. udføres særlige foranstaltninger. Dette kan aftales med vores teknikere.
Pilhøjde
Deformationer og pilhøjder beregnes med de sædvanlige elasticitetsteoretiske formler. Der regnes med urevnet tværsnit, hvorfor det skal sikres, at den karakteristiske revnekapacitet ikke er overskredet. Ellers vil deformatioer blive væsentlig større end beregnet.
De beregnede deformationer baseres på den oplyste lasttilfælde, en jævn fordelt last. Da dimensionsgivende lasttilfælde oftest overstiger de aktuelt forekomne laster, vil nedbøjninger typisk være mindre end de beregnede, og pilhøjden kan ende større end beregnet.
Pilhøjdeberegningerne er vejledende, baseret på ca. 14 dages lagring. De endelige pilhøjder vil variere som følge af lagringsbetingelser, modenhed mm. Som hovedregel +/- 50 %, min +/- 10 mm, i forhold til angivne værdier.
Specielt ved lange bjælker med relativ ringe højde bør leveringspilhøjden tages i betragtning ved projekteringen. Ved udformning af tilstødende konstruktioner kan det på tilsvarende vis være nødvendigt at tage hensyn til bjælkernes nedbøjning forårsaget af belastningerne. Her bør en vurdering af den samlede konstruktion (evt. med sammenstøbning med dækfuger) danne grundlaget.
Brand
Der foretages en projektspecifik brandeftervisning af bjælkerne, hvis det er krævet i projektet.
Normalt vil KB/E bjælkerne kunne dimensioneres til at overholde REI 60 A2 og ofte REI 120 A2.


