BETONELEMENTER
SIB, IB OG RB-BJÆLKER
SIB, IB og RB-bjælker er alle forspændte elementer, og de kan anvendes i alle former for byggeri, hvor der er brug for stor stivhed og spændvidde. SIB-bjælkerne anvendes fortrinsvis som tagbjælker, mens IB og RB-bjælker både anvendes som tag- og etagebjælker.
SIB, IB og RB-bjælker produceres og kontrolleres i henhold til DS/EN 13225 og leveres CE-mærkede. Se mere under certifikater.
Elementgeometri
Hovedmål
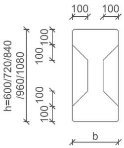
SIB-bjælker – sadeltagsbjælker
SIB-bjælkerne producers som standard med følgende tværsnitsdimensioner.
| SIB type | b mm | h i kip mm |
|---|---|---|
| 24/72 24/84 24/96 24/108 | 240 | 720 840 960 1080 |
| 30/96 30/108 30/120 30/132 30/144 30/156 | 300 | 960 1080 1200 1320 1440 1560 |
| 36/96 36/108 36/120 36/132 36/144 36/156 | 360 | 960 1080 1200 1320 1440 1560 |
| 42/132 42/144 42/156 42/168 42/180 42/192 42/204 42/216 | 420 | 1320 1440 1560 1680 1800 1920 2040 2160 |
| 48/132 48/144 48/156 48/168 48/180 48/192 48/204 48/216 | 480 | 1320 1440 1560 1680 1800 1920 2040 2160 |
SIB-bjælker fremstilles i de 3 viste hovedtyper. De har alle I-tværsnit over hovedparten af længden, hvor tværsnittet er rektangulært.
Bjælkerne betegnes SBI b/h, hvor b er bredden af hoved og fod, og h er højden af tværsnittet ved kip.
Længdesnit:
SIB-bjælker har hældning 1:15 på oversiden.
SIB-bjælker har massivt tværsnit ved enderne. Længden af disse massive endestykker afhænger af bjælkelængden, det mulige antal I-formpaneler samt i visse tilfælde af belastningen.
De angivende vægte på SIB-bjælkerne er omtrentlige, på grund af forskelle i de rektangulære endestykkers længde. I tabellerne er bjælkernes vægt angivet i kN
SIB-bjælkerne udføres som standard med pilhøjde.
Elementerne kan efter aftale udføres med andre tværsnit.
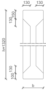
IB-bjælker
IB-bjælkerne producers som standard med følgende tværsnitsdimensioner.
| IB type | b mm | h mm | Vægt RB profil kg/m | Vægt i profil kg/m |
|---|---|---|---|---|
| 30/60 30/72 30/84 30/96 30/108 | 300 | 600 720 840 960 1080 | 441 529 617 709 794 | 294 323 353 382 412 |
| 36/72 36/84 36/96 36/108 36/132 | 360 | 720 840 960 1080 1320 | 635 741 847 953 1164 | 429 476 523 570 565 |
| 42/96 42/108 42/132 | 420 | 960 1080 1320 | 988 1111 1358 | 664 729 760 |
| 48/96 48/108 48/132 | 480 | 960 1080 1320 | 1129 1270 1552 | 806 888 954 |
IB-bjælkerne er lige bjælker med samme højde over hele længden. De betegnes IB b/h, hvor b og h er henholdsvis bredde og højde af tværsnittet i cm.
IB-bjælkerne har lige som SIB-bjælkerne I-tværsnit over hovedparten af længden og rektangulært tværsnit ved enderne. IB-bjælker har massivt tværsnit ved enderne. Længden af disse massive endestykker afhænger af bjælkelængden og det mulige antal I-formpaneler samt i visse tilfælde af belastningen.
De angivende vægte på IB-bjælken er omtrentlige, på grund af forskelle i de rektangulære endestykkers længde. I tabellerne bjælkernes vægt angivet i kN
IB-bjælkerne udføres som standard med pilhøjde.
Elementerne kan efter aftale udføres med andre tværsnit.
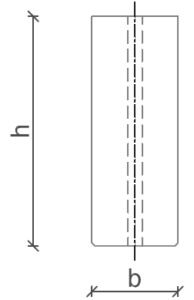
RB-bjælker
RB-bjælkerne produceres som standard med følgende tværsnitsdimensioner.
RB-bjælker produceres som standard med følgende bredder (b):
- 180
- 240
- 360
- 420
- 480
- 500
- 600
Højden (h) er i princippet vilkårlig op til 2000 mm.
RB-bjælkerne er lige bjælker med samme højde over hele længden. De betegnes RB b/h, hvor b og h er henholdsvis bredde og højde af tværsnittet i cm.
RB-bjælkerne har rektangulært tværsnit over hele længden. Elementerne kan efter aftale udføres med andre tværsnit. RB-bjælker udføres som standard med pilhøjde. I RB-tabellen er vægten anført i kN/m.
Affasning
Produceres som standard med 10 x 10 mm affasning på undersiden og oversiden.
Udsparinger
Under hensyntagen til armering, stålforme og elementets bæreevne kan der foretages udsparinger i bjælkerne til rørgennemføring, ventilation m.v.
Indstøbningsdele
Løft
I bjælker indstøbes normalt 2 wireløft som standard, hvor det vurderes, at løftesystemet er anvendeligt. I specielle tilfælde kan det være nødvendigt at indstøbe 4 wireløft.
Lejeplader
Elementerne leveres som standard med lejeplader i sort udførelse. Der medregnes lejeplader for bjælkens vederlag og som anført i projektet.
Alle lejeplader regnes udført med svejsninger i udførelsesklasse EXC1 eller EXC2. For lejeplader der skal udføres i udførelsesklasse EXC 3 kræves specifik aftale.
Forankring mellem søjle/bjælke/dæk
Til forankring mellem søjler og bjælker anvendes som standard et ø50 korrugeret rør for dornhul.
Til forankring mellem bjælker og dæk indstøbes ø50 PVC-rør eller inserts i kroppen for fugearmering.
Andre indstøbningsdele
Andre indstøbningsdele som f.eks. udragende armering i oversiden til sammenstøbning med dækkets overbeton, specialbeslag, svejseplader, ankerskinner, inserts, afstivningsinserts, etc. kan tilkøbes efter aftale.
SAMLINGER OG DETALJER
DOWNLOAD SAMLINGSDETALJER
Du kan downloade vores samlingsdetaljer af bjælker som dwg- og pdf-filer her.
Projektering og beregning
Forudsætninger
Generelt
Deklarerede værdier for materialer og egenskaber vedr. SIB, IB og RB bjælker fremgår af ydeevnedeklarationen. Download gældende udgave her.
Bjælkerne produceres og kontrolleres i henhold til DS/EN 13225 og leveres CE-mærkede.
Kontrolklasse
SIB, IB og RB-bjælker produceres som standard i skærpet kontrolklasse.
Miljøklasse
SIB, IB og RB-bjælker produceres som standard i passiv miljøklasse. Kan efter aftale også produceres til anvendelse i moderat, aggressiv og ekstra aggressiv miljøklasse. SIB-bjælker med bredde på 420 mm kan dog højest opfylde krav til moderat miljøklasse. Til byggeri, hvor enderne er synlige eller miljøklassen kræver det, kan bjælkerne efter aftale leveres med forseglede endeflader mod beregning.
Betonstyrker
SIB, IB og RB bjælker produceres som standard i styrkeklasse 45.
Overflader
Konsolbjælkerne udføres med en overflade svarende til BO 43/ 42.
Tolerancer
Elementerne overholder gældende tolerancer, der kan ses her.
INFORMATION
ARMERING
Du kan finde data for både slapt armering og spændarmering her.
Bæreevne
Forspændte IB, SIB og RB bjælker eftervises sagsspecifikt med en statisk beregning, som specificerer beton- og stålkvaliteter, armeringsmængde og -udformning. Beregningen indeholder minimum nedenstående punkter.
Bæreevnetabeller
IB-bjælker:
RB-bjælker:
Regningsmæssigt last
Den regningsmæssige momentbæreevne Mud og regningsmæssige forskydningskapacitet, Vud eftervises at være større end det regningsmæssige belastning inkl. bjælkens egenvægtsmoment.
Revnelast
Revnemomentet Mk er den anbefalede maks. værdi for den karakteristiske belastning inkl. bjælkens egenvægtsmoment. Det er forudsætningen for, at bjælken kan regnes revnefri i deformationsberegningerne. Alternativt skal det sikres, at der er tryk over hele tværsnittet ved hyppig last.
Balancelast
Balancemomentet Mbal er momentet, hvor tværsnittet på bjælkemidten har jævnt tryk over hele tværsnittet og dermed minimale langtidsdeformationer. Som følge af forskellen i momentkurven for forspænding og belastning, kan det opnåede Mbal ved normal last overskrides med ca. 50%, før der opstår større deformationer i bjælken.
Svind og krybning under lagerperioden giver en mindre forøgelse af pilhøjden. Dette udgør ca. 10%, hvorfor der kan tillades en samlet overskridelse af balancemomentet på ca. 60%.
Derfor anbefales det, at momentet fra den kvasi permanente last ikke overskrider Mbal multipliceret med 1,6.
Vederlag
Der skal under projektering af vederlag tages hensyn til betonens svind og krybning, f.eks. ved at indlægge glideleje i den ene ende. Endvidere skal der tages hensyn til ændringer af pilhøjden og den dermed følgende vinkeldrejning ved vederlaget. Ved lejetryk over ca. 10 – 12 MPa skal vederlagsforhold vurderes og evt. skal der udføres særlige foranstaltninger. Dette kan aftales med vores teknikere.
Pilhøjde
Deformationer og pilhøjder beregnes med de sædvanlige elasticitetsteoretiske formler. Der regnes med urevnet tværsnit, hvorfor det skal sikres, at den karakteristiske revnekapacitet ikke er overskredet. Ellers vil deformatioer blive væsentlig større end beregnet.
De beregnede deformationer baseres på den oplyste lasttilfælde, en jævn fordelt last. Da dimensionsgivende lasttilfælde oftest overstiger de aktuelt forkomne laster, vil nedbøjninger typisk være mindre end de beregnede og pilhøjde kan ende større end beregnet.
Pilhøjde beregningerne er vejledende, baseret på ca. 14 dages lagring. De endelige pilhøjder vil variere som følge af lagringsbetingelser, modenhed mm. Som hovedregel +/- 50 %, min +/- 10 mm, i forhold til angivne værdier.
Specielt ved lange bjælker med relativ ringe højde, bør leveringspilhøjden tages i betragtning ved projekteringen. Ved udformning af tilstødende konstruktioner kan det på tilsvarende vis være nødvendigt at tage hensyn til bjælkernes nedbøjning forårsaget af belastningerne. Her bør en vurdering af den samlede konstruktion (evt. med sammenstøbning med dækfuger) danne grundlaget.
Brand
Der foretages en projektspecifik brand eftervisning af bjælkerne, hvis det er krævet i projektet.
Normalt vil bjælker kunne dimensioneres til REI 60 A2. For de bredere tværsnit vil det være muligt at opnå REI 120, hvis bjælken ikke er udnyttet fuldt ud.







